Nissan ARIYA 2024 Gebruikershandleiding
8.6.1.1. Beschikbare weergaven

De afstandsrichtlijnen en de voertuigbreedtelijnen mogen alleen als referentie worden gebruikt wanneer de auto zich op een vlak, verhard wegdek bevindt. De schijnbare afstand weergegeven op de monitor kan afwijken van de werkelijke afstand tussen de auto en weergegeven objecten.
Gebruik de weergegeven lijnen en de bovenweergave als referentie. De lijnen en de bovenweergave worden sterk beïnvloed door het aantal inzittenden, de voertuigpositie, de wegomstandigheden en de hellingshoek van de weg.
Indien de banden vervangen zijn door banden met andere afmetingen, dan worden de geschatte koerslijnen en de bovenweergave mogelijk onjuist weergegeven.
Wanneer u een heuvel oprijdt, zijn de objecten die op de monitor getoond worden verder weg dan ze op de monitor lijken. Wanneer u een heuvel afrijdt zijn de objecten dichterbij dan ze op de monitor lijken.
Objecten die worden getoond in de achterweergave verschijnen tegenovergesteld ten opzichte van het beeld gezien in de achteruitkijkspiegel en de buitenspiegels.
Gebruik de spiegels of kijk naar buiten om de afstand tot andere objecten correct in te schatten.
De afstand tussen objecten, weergegeven in de achterweergave, verschilt van de werkelijke afstand vanwege het gebruik van een groothoekcamera.
Op besneeuwde of gladde wegen kunnen de geschatte koerslijnen mogelijk verschillen van de werkelijke koerslijnen.
De voertuigbreedtelijnen en de geschatte koerslijnen worden in verhouding breder op het scherm weergegeven dan de werkelijke breedte en koers eigenlijk zijn.
Voor- en achterweergave


Richtlijnen die bij benadering de breedte van het voertuig en de afstand tot objecten aangeven ten opzichte van de voertuigcarrosserielijn (A), worden op de monitor weergegeven.
Voertuigbreedtelijnen (1):
Geven de voertuigbreedte aan.
Geschatte koerslijnen (2):
Geven de geschatte koers aan wanneer u het voertuig bedient. De geschatte koerslijnen zullen verschuiven afhankelijk van de mate waarin het stuurwiel wordt gedraaid.
Afstandsrichtlijnen:
Geven de afstand aan vanaf de voertuigcarrosserie.
Rode lijn (3) : ongeveer 0,5 m (1,5 ft)
Blauwe lijn (4) : ongeveer 1 m (3 ft)
Blauwe lijn (5) : ongeveer 2 m (7 ft)
Blauwe lijn (6): ongeveer 3 m (10 ft)
De voorweergave wordt niet getoond wanneer de rijsnelheid hoger is dan 10 km/u (6 MPH).
Bovenweergave

De bovenweergave toont het aanzicht van de auto in vogelperspectief, waarbij het makkelijker is om de voertuigpositie en de geschatte koers naar een parkeerplek te bepalen.
Het voertuigpictogram (1) toont de voertuigpositie. Houd er rekening mee dat de afstand tussen objecten die in de bovenweergave worden getoond niet overeenkomt met de werkelijke afstand.
De geschatte koerslijnen (2) geven de voorspelde koers aan tijdens het bedienen van de auto.

Objecten in de bovenweergave lijken verder weg dan ze in werkelijkheid zijn.
Grote objecten, zoals een stoeprand of een voertuig, worden mogelijk onjuist uitgelijnd of niet getoond op de overgang tussen de verschillende weergaven.
Objecten die zich boven de camera's bevinden kunnen niet worden weergegeven.
De weergave in vogelperspectief wordt mogelijk onjuist uitgelijnd wanneer de positie van de camera verandert.
Een lijn op de grond wordt mogelijk onjuist uitgelijnd of niet herkend als recht als deze op de overgang tussen de verschillende weergaven komt te liggen. De onjuiste uitlijning neemt toe naarmate de afstand tot de auto groter wordt.
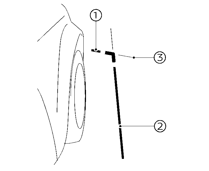
Voor-zijweergave

De schermindeling in de afbeelding is van toepassing op het model met linkse besturing (LHD). Bij modellen met rechtse besturing (RHD) is de schermindeling tegenovergesteld.
Richtlijnen:
Richtlijnen die de breedte, bij benadering, en het vooreinde van het voertuig aangeven, worden op de monitor weergegeven.
De voertuigfrontlijn (1) toont het voorste deel van het voertuig.
De voertuigzijlijn (2) toont de voertuigbreedte, inclusief de buitenspiegels.
De verlengingen (3) van zowel de frontlijn (1) als de zijlijn (2) worden door middel van een blauwe lijn weergegeven.

De richtingaanwijzer kan er uitzien als een voertuigzijlijn. Dit duidt niet op een storing.
Panoramische voor-/achterweergave


Terwijl de voorweergave/achterweergave een normale weergave tonen op het gesplitste scherm, tonen de panoramische voorweergave/panoramische achterweergave een groter gebied op het gehele scherm en bieden de mogelijkheid om de blinde hoeken aan de rechter- en linkerkant te controleren.
Voertuigbreedtelijnen (1):
Geeft bij benadering de voertuigbreedte aan.
Geschatte koerslijnen (2):
Geven de geschatte koers aan wanneer u het voertuig bedient. De geschatte koerslijnen zullen verschuiven afhankelijk van de mate waarin het stuurwiel wordt gedraaid.
Afstandsrichtlijnen:
Geven de afstand aan vanaf de voertuigcarrosserie.
Rode lijn (3): ongeveer 0,5 m (1,5 ft)
Blauwe lijn (4): ongeveer 1 m (3 ft)
Blauwe lijn (5): ongeveer 2 m (7 ft)
Blauwe lijn (6): ongeveer 3 m (10 ft)
De panoramische voorweergave wordt niet getoond wanneer de rijsnelheid hoger is dan 10 km/u (6 MPH).